Mercury's New 4Stroke Driveway Maintenance YouTube

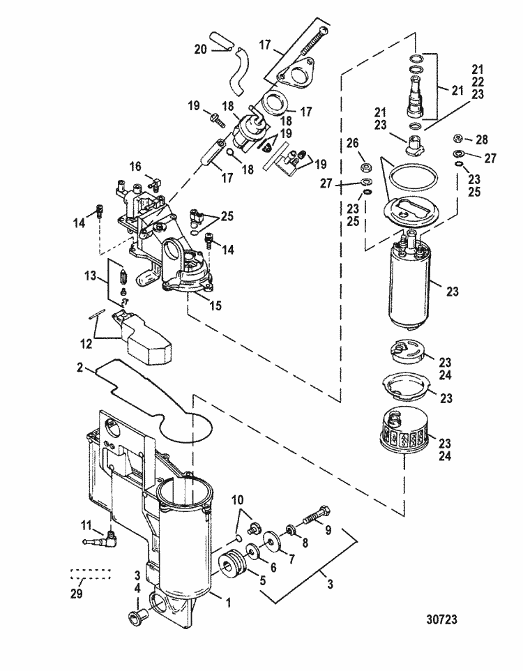
Mercury 4 Stroke Efi Fuel Pump Location. Mercury/Mariner 115 EFI 4Stroke, Fuel Pump parts catalog Buy QPN Fuel Pump for Mercury Outboard 25 30 HP 4-Stroke 3 Cyl EFI - 898101T67: Electric Fuel Pumps - Amazon.com FREE DELIVERY possible on eligible purchases What we didn't know was the motor would be missing a fuel pump

Mercury 60 Efi Bigfoot 4 Stroke
Mercury 60 Efi Bigfoot 4 Stroke from userwiringvestmental.z13.web.core.windows.net

Ratchet and sockets; Crosshead screwdriver; Flathead screwdriver; Pliers; Side cutters; NOTE: The parts you'll need will depend on which parts of the fuel system you're rebuilding and the condition of the various components If your outboard is not EFI, please see this fuel pump for the carbureted models: Mercury 40HP Non-EFI 4-Stroke Fuel Pump

Mercury 60 Efi Bigfoot 4 Stroke

Buy a genuine Mercury Quicksilver or aftermarket part HeuroFosh 8M0141827 Fuel Pump for Mercury Mariner 3Cyl 4 Cyl EFI 25 30 40 50 60 HP Outboard Engines 881862T08 899106T01. If your outboard is not EFI, please see this fuel pump for the carbureted models: Mercury 40HP Non-EFI 4-Stroke Fuel Pump

Mercury Marine 60 HP EFI (4 Cylinder) (4Stroke) Electrical Components. If it is 1B036613 or lower (this includes all serial #s starting with a 0 or a 1A), please go to. For 2001-2005 Models: If your serial # is 1B036614 or Higher - this is the correct fuel pump

Mercury Marine 60 HP EFI (4 Cylinder) (4Stroke) Electrical Components. Designed to fit Mercury 4-stroke engines, this fuel pump is specifically tailored for use with 25HP, 35HP, 40HP, 45HP, 50HP, 55HP, and 60HP models The list of parts we used for our 2003 Mercury 40HP 4-stroke outboard fuel system rebuild can be found here.